搜索
赞助商广告 广告标识
赞助商广告广告标识
赞助商广告广告标识
足球直播广告标识
输入验证码,即可以复制!
微信扫码关注,即可获得验证码
只需要3秒时间

胜负彩24145期分析预测:数据为基,策略为翼,不怕主任爆冷,就怕我们没抓住。

飓风体育实名认证 手机认证 发表于 2024-9-19 12:22:43 | 显示全部楼层 |阅读模式
本期胜负彩涵盖了多场来自不同国家和联赛的精彩对决,包括葡超、德甲、法乙、意甲西甲以及荷甲等赛事。这些比赛不仅代表了各自联赛的高水平较量,也吸引了全球彩民和球迷的广泛关注。每一场比赛都充满了未知与悬念,以下是小编对每一场的解析预测胜负大概预测,希望能给您提供更多的选择方案。个人观点、切勿沉迷!
0 l. k# v6 v% I8 e# }% c4 g" C
胜负彩24145期分析预测:数据为基,策略为翼,不怕主任爆冷,就怕我们没抓住。 5 A' f2 ~% f" H7 Q
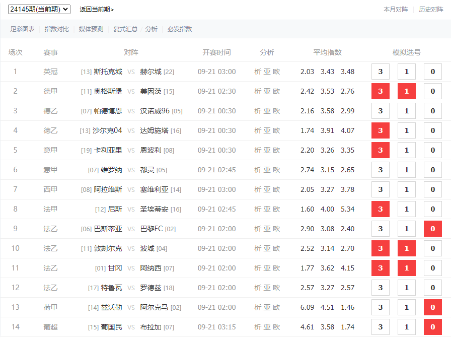
1. 斯托克城vs赫尔城
8 p; n4 K( M( J0 x7 l
分析:斯托克城近期表现较为平稳,防守端展现了一定韧性;赫尔城则处于保级边缘,急需分数。考虑到主场优势及两队状态,斯托克城更被看好。
预测:胜(3)

, J9 F5 P8 r. p1 ^
2. 奥格斯堡vs美因茨
分析:奥格斯堡近期状态有所回升,但整体实力略逊于美因茨。美因茨客场作战能力不俗,有望带走分数。
预测:胜/平(3/1)
; @' Q( V$ \! s! n
3. 帕德博恩vs汉诺威96
分析:帕德博恩作为升班马,本赛季表现起伏较大;汉诺威则相对稳定,有一定的客场拿分能力。双方实力相当,但汉诺威经验更丰富。
预测:平/负(1/0)
胜负彩24145期分析预测:数据为基,策略为翼,不怕主任爆冷,就怕我们没抓住。
' F) F; e$ {( j. I8 o
4. 沙尔克04vs达姆施塔
分析:沙尔克04虽为传统强队,但近年来表现不佳,目前处于低谷;达姆施塔则凭借顽强斗志在联赛中立足。此役沙尔克需借主场之利反弹。
预测:胜(3)

& p; e- `5 ^8 d. z' ]7 [
5. 卡利亚里vs恩波利
分析:卡利亚里近期状态有所回暖,主场作战更有信心;恩波利则持续低迷,防守问题突出。卡利亚里有望乘胜追击。
预测:胜(3)

. h' W8 S, ]9 }) h/ s4 ]. Q
6. 维罗纳vs都灵
分析:维罗纳近况不俗,攻防两端均有亮点;都灵则表现平平,客场作战不易。维罗纳有望凭借主场优势取得胜利。
预测:胜(3)
胜负彩24145期分析预测:数据为基,策略为翼,不怕主任爆冷,就怕我们没抓住。 % O6 p  z- Q+ y, [' c3 U- F0 o/ O
7. 阿拉维斯vs塞维利亚
分析:阿拉维斯实力有限,面对西甲强队塞维利亚难有作为。塞维利亚作为欧战常客,实力远胜对手。
预测:平/负(1/0)

3 h  V8 N% |) u# x2 \
8. 尼斯vs圣埃蒂安
分析:尼斯近期状态稳定,主场作战优势明显;圣埃蒂安则处于重组期,表现不稳定。尼斯有望全取三分。
预测:胜(3)
2 t. @4 Z0 I4 ]! G/ k
9. 巴斯蒂亚vs巴黎FC
分析:巴斯蒂亚本赛季表现平平,而巴黎FC近期状态回升,攻击端火力全开。巴黎FC客场有望取胜。
预测:负(0)

' _5 X/ Q! a* ?/ [3 b0 Z
10. 敦刻尔克vs波城
分析:敦刻尔克近期战绩不佳,急需胜利提振士气;波城则表现出较强的韧性和斗志。本场或成平局。
预测:胜/平(3/1)
胜负彩24145期分析预测:数据为基,策略为翼,不怕主任爆冷,就怕我们没抓住。
) b2 i( K( L  p, ^! s8 z! k
11. 甘冈vs阿纳西
分析:甘冈作为法乙老牌球队,主场作战有一定优势;阿纳西虽为升班马,但近期表现出色。双方实力接近,甘冈略占优势。
预测:胜/平(3/1)
/ r" H3 y, a& X# S
12. 特鲁瓦vs罗德兹
分析:特鲁瓦近期状态火热,攻击线多点开花;罗德兹则防守不稳,难以抵挡特鲁瓦的攻势。特鲁瓦主场胜算大。
预测:胜(3)

) n% o! L1 @* `; ^+ }- ^7 G) E
13. 兹沃勒vs阿尔克马
分析:兹沃勒近期表现有所下滑,而阿尔克马作为荷甲劲旅,实力明显高于对手。阿尔克马客场有望取胜。
预测:负(0)
胜负彩24145期分析预测:数据为基,策略为翼,不怕主任爆冷,就怕我们没抓住。
  i+ j' n. O/ H5 q; q3 d1 y( W
14. 葡国民vs布拉加
分析:葡国民近期状态一般,面对实力强劲的布拉加,防守将面临巨大考验。布拉加攻击犀利,客场取胜机会大。
预测:负(0)
9 D4 C" g2 o$ y( X$ b
在综合了所有分析因素后,我们得出了本期胜负彩的初步结论,并精选出了一系列具有潜力的比赛进行重点推荐。这些推荐不仅基于我们的深入分析和专业判断,还充分考虑了市场趋势和投注价值。我们相信这些推荐将为彩民们带来丰厚的回报和愉快的投注体验。请注意,以上分析仅基于当前球队状态、历史交锋记录及基本面信息,实际比赛结果可能受多种因素影响,请谨慎参考。以下是小编个人任九方案推荐,仅供参考,切勿沉迷!
胜负彩24145期分析预测:数据为基,策略为翼,不怕主任爆冷,就怕我们没抓住。 ! R9 B8 M4 t9 U8 o+ V, k" ]
. p# T" z# K. V
回复

使用道具 举报

全部回复0 显示全部楼层
暂无回复,精彩从你开始!

快速回帖

您需要登录后才可以回帖 登录 | 立即注册

本版积分规则

联系客服 关注微信 下载APP 返回顶部 返回列表
关闭按钮
赞助商广告广告标识
关闭按钮
赞助商广告广告标识