搜索
赞助商广告 广告标识
赞助商广告广告标识
赞助商广告广告标识
足球直播广告标识
输入验证码,即可以复制!
微信扫码关注,即可获得验证码
只需要3秒时间

胜负彩24149期:14场/任九独家解析,看曼联主场不败,巴萨继续领跑,热那亚防冷!

飓风体育实名认证 手机认证 发表于 2024-9-25 10:56:11 | 显示全部楼层 |阅读模式
随着胜负彩24149期的临近,全球球迷的目光再次聚焦于各大洲的绿茵场上。本期赛事汇集了来自不同联赛与杯赛的精彩对决,从欧洲豪门的碰撞到中游球队的较量,每一场都值得我们细细品味与深入剖析。以下是对本期14场比赛的详细分析与胜负预测,希望能为各位彩民朋友提供一些有价值的参考。
胜负彩24149期:14场/任九独家解析,看曼联主场不败,巴萨继续领跑,热那亚防冷! , j  L$ x% x: i* R7 ]) J
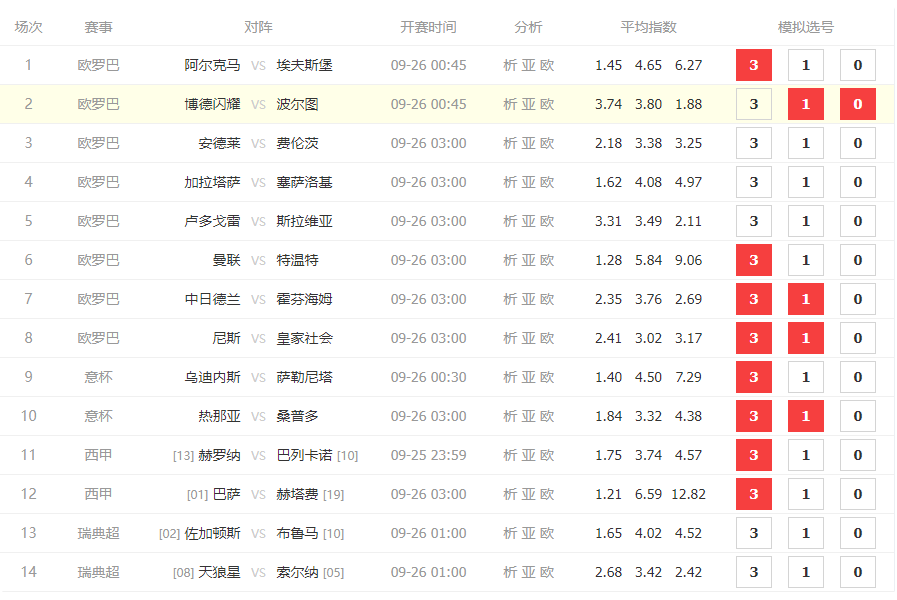
1. 阿尔克马VS埃夫斯堡
阿尔克马近期状态稳定,主场优势明显;埃夫斯堡则长途跋涉,体能或成隐患。
$ L: ~8 _( F: \+ `1 Q预测:阿尔克马胜(3)
+ V9 S2 s- B+ l
2. 博德闪耀VS波尔图
博德闪耀主场战斗力强,但面对实力雄厚的波尔图,其优势或将减弱。波尔图欧战经验丰富,看好其客场不败。/ O, ]# u& ~) f1 B( B( i
预测:波尔图不败(1/0)

; H1 W; N$ ]0 r. z6 J- ]
3. 安德莱VS费伦茨*
双方实力相当,安德莱主场作战渴望胜利;费伦茨防守稳健,或能全身而退。
- X1 Q/ ~) B3 ~1 T- |! |( K/ W9 f预测:平或安德莱小胜(3/1)
胜负彩24149期:14场/任九独家解析,看曼联主场不败,巴萨继续领跑,热那亚防冷!
' w: Z) b; l/ a6 `7 g
4. 加拉塔萨VS塞萨洛基
加拉塔萨主场气势如虹,进攻火力十足;塞萨洛基客场作战能力有限。
2 j: A4 h9 f4 {6 k# n  E# m( P( J预测:加拉塔萨胜(3)

( z- r3 r1 Y: y. r8 P" x! y
5. 卢多戈雷VS斯拉维亚
卢多戈雷近期状态波动,但主场作战或有所作为;斯拉维亚客场作战稳健,但难以大胜。
预测:平或斯拉维亚小胜(1/0)

9 w" S* K* N% Z0 g* J9 s
6. 曼联VS特温特
曼联实力远胜特温特,且主场作战优势明显。# }7 F" s9 r0 x  z% p
预测:曼联胜(3)
胜负彩24149期:14场/任九独家解析,看曼联主场不败,巴萨继续领跑,热那亚防冷!
3 X  w# F4 H6 X  \8 v- b4 B% \
7. 中日德兰VS霍芬海姆
两队实力相当,中日德兰主场作战稍占优势;霍芬海姆客场同样不容小觑。
预测:平或中日德兰小胜(1/3)

# u# _! \% P/ F, p. C
8. 尼斯VS皇家社会
尼斯近期表现不俗,主场作战信心满满;皇家社会则面临长途奔袭的考验。
+ q7 ^( W8 Q$ v+ s/ I预测:尼斯胜(3)

( v3 R. v( V7 `
9. 乌迪内斯VS萨勒尼塔  
乌迪内斯状态一般,但主场作战仍有一定优势;萨勒尼塔保级压力巨大,恐难全身而退。! k: d( [2 O2 f2 l3 {9 Y6 E6 w
预测:乌迪内斯胜(3)
胜负彩24149期:14场/任九独家解析,看曼联主场不败,巴萨继续领跑,热那亚防冷!
* C7 Y) a5 r6 c" T2 T/ t) o
10. 热那亚VS桑普多
两队同处困境,但热那亚主场作战或能激发斗志。; W+ \0 a- `/ R0 _2 n2 T
预测:热那亚不败(3/1)
  i+ X" k. [. k) w, _, H1 @' T
11. 赫罗纳VS巴列卡诺
赫罗纳主场作战,求胜欲望强烈;巴列卡诺客场作战能力一般。$ q1 c+ ~+ S6 N1 o8 W
预测:赫罗纳胜(3)

0 i' e/ I+ l' X+ f7 V6 X. t
12. 巴萨VS赫塔费
巴萨实力超群,主场作战几乎无悬念。
2 [: B% h% [8 ]/ c4 x( _) ^) U2 u预测:巴萨大胜(3)
胜负彩24149期:14场/任九独家解析,看曼联主场不败,巴萨继续领跑,热那亚防冷! 9 l* H2 b4 W) J* \" c
13. 佐加顿斯VS布鲁马
佐加顿斯主场作战,且近期状态良好;布鲁马客场作战难有作为。
5 J! Q- c5 l! L2 b0 i预测:佐加顿斯胜(3)
+ G( |$ r7 M+ U4 g) ?% F
14. 天狼星VS索尔纳
双方实力接近,天狼星主场作战或有优势;索尔纳同样不容小觑。- E0 k& J% n; H# p) j' M, r. }
预测:平或天狼星小胜(3/1)

* t+ ^, j# R8 ~; @
总结/ Z3 q: G# [/ |5 I! I
本期胜负彩涵盖了多场精彩纷呈的足球赛事,从实力悬殊的较量到势均力敌的对决,每一场都充满了未知与挑战。通过对各队近期状态、历史交锋记录以及主场客场因素的综合分析,我们尝试为每场比赛做出了合理的预测。但足球的魅力在于其不可预测性,最终的胜负还需球场上的球员们去书写。希望以上分析能为广大彩民朋友提供一些参考与帮助,祝各位好运!一下是小编的个人任九推荐,仅供参考,切勿沉迷哟!/ Z  \. i7 h6 ~% l1 e$ O
胜负彩24149期:14场/任九独家解析,看曼联主场不败,巴萨继续领跑,热那亚防冷!
: O& R  i# P4 R4 R& |! M" W
9 b5 v! [7 g) F
回复

使用道具 举报

全部回复0 显示全部楼层
暂无回复,精彩从你开始!

快速回帖

您需要登录后才可以回帖 登录 | 立即注册

本版积分规则

联系客服 关注微信 下载APP 返回顶部 返回列表
关闭按钮
赞助商广告广告标识
关闭按钮
赞助商广告广告标识